Motorradmesse in Mailand
EICMA 2019
Präsentiert von
Kawasaki EV Project Kawasaki
Kawasaki EV Project
Kawasaki EV Project
Kawasaki EV Project
Kawasaki EV Project 25 Bilder

Kawasaki EV Endeavor Elektromotorrad

Neue Modellbezeichnung und frische Kurzvideos

EICMA 2019

Grün spielt bei Kawasaki schon immer eine wichtige Rolle. Patentanmeldungen von 2019 zeigten, Kawasaki beschäftigt sich auch mit "grünen" Elektroantrieben. Auf der EICMA stand dann ein erster Prototyp. Nun gibt es eine neue Modellbezeichnung: EV Endeavor.

Eine Patentanmeldung ist nie ein Garant dafür, dass die patentierte Technik auch irgendwann in Serie kommen wird. Zumindest bieten solche Patente aber Raum für Spekulationen, so wie im Fall von Kawasaki, die sich ein Batteriewechselsystem haben schützen lassen, wie ein erstmals im April 2019 aufgetauchtes Patent zeigt.

Kawasaki EV Project
Kawasaki

Diese Patentschrift zeigte ein Motorrad im Format der Ninja 300/400 mit einem Gitterrohrrahmen, der sich seitlich öffnen lässt, um die komplette Batterieeinheit tauschen zu können. Dazu wurde der linksseitige Rahmenteil so gestaltet, dass er sich zwischen Lenkkopf und Schwingenlager komplett abnehmen lässt. Das komplette Akkupaket lässt sich dann mit einem Spezialschlitten, der unter das Motorrad geschoben wird, andocken und anheben. Der Elektromotor an sich sitzt darunter und verbleibt im Fahrzeug.

Kawasaki Elektromotorrad Patent
Kawasaki

Das Batteriepaket wird aus dem Fahrzeug gehoben und durch ein geladenes Paket auf dem gleichen Weg ersetzt. Abgeleitet aus diesem Konzept scheint Kawasaki beim Thema Elektromotorrad über ein Wechselakkusystem nachzudenken, das beim Thema Ladezeiten Entspannung bringen kann. Das verbaute Batteriepaket lässt sich aber auch in der verbauten Form laden.

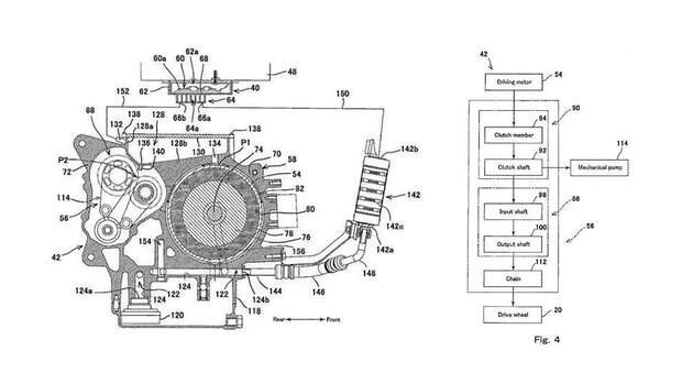
Bereits zuvor hatte sich Kawasaki einen flüssigkeitsgekühlten Elektroantrieb schützen lassen.

Ram-Air zur Kühlung

Um ihre optimale Leistung zu bringen, brauchen Antriebe ein bestimmtes Temperaturarbeitsfenster, da geht es Elektro- wie Verbrennungsmotoren ähnlich. Besonders gut regulieren lässt sich der Temperaturhaushalt über eine Flüssigkeitskühlung. Genau hier setzt das Kawasaki-Patent an.

Kawasaki
Die Motor-Getriebe-Einheit wird per Öl gekühlt.

Das Patent zeigt ein konventionell gezeichnetes Motorrad, das unter einer Tankattrappe und zwischen den Hauptrahmenrohren Batteriepakete aufnimmt. Der Elektromotor sitzt samt einer Getriebeeinheit darunter.

Während das Kawasaki-Patent für die Batterien eine Luftkühlung vorsieht, die den Energiespeichern über eine Art Ram-Air-Schlund vorbei am Lenkkopf kühlenden Fahrtwind zuführt, wird die Motor-Getriebe-Einheit von kühlendem Öl umspült. Ein entsprechend groß dimensionierter Ölkühler sitzt vor dem Aggregat.

Prototyp auf der EICMA 2019

Konkreter wurde das Elektromotorrad von Kawasaki dann auf der EICMA 2019, wo die Japaner einen Prototypen ausstellten. Das geschah allerdings ohne viel Tam-Tam. Der als EV Project betitelte Prototyp eines Rolling Chassis stand ohne weitere Infos auf dem Messestand. Die Japaner betonten damals aber, dass der Prototyp, an dem schon seit dem Jahr 2000 entwickelt wird, voll fahrfähig sei und in Japan schon etliche Tests auf Rennstrecken und öffentlichen Straßen absolviert hätte – im Anschluss veröffentlichte Videos bestätigten diese Aussagen dann auch. Der verbaute Elektromotor soll eine Dauerleistung von 10 kW und eine Spitzenleistung von 20 kW bieten. Die Reichweite beziffert Kawasaki mit rund 100 Kilometer. Detailierte Infos wollen sie aber nicht herausrücken.

Kawasaki EV Project
Jörg Künstle

Am Prototyp sind dennoch einige Merkmale klar zu erkennen. Der Endantrieb erfolgt über eine konventionelle Kette. Vorgeschaltet ist dabei ein Viergang-Getriebe. Über dem Motor sitzt das Batteriepaket, direkt dahinter die CHAdeMO-Ladesteckdose sowie weitere Steckdosen für andere Systeme. Auffällig ist noch eine Daumenbremse am linken Lenkerende mit der sich die Rekuperation beeinflussen lässt. Als Cockpit fungiert ein großes LCD-Display.

Kawasaki EV Project
Mona Pekarek

Modellbezeichnung EV Endeavor

Ende April 2020 bestätigte Kawasaki die neue Modellbezeichnung. Das Elektromotorrad der Grünen hört auf den Namen EV Endeavor. Ob es sich hierbei um die finale Bezeichnung eines potentiellen Serienmodells handelt, ist allerdings unklar. Abgesehen davon publiziert Kawasaki auf dem offiziellen YouTube-Channel von Zeit zu Zeit neue Kurzvideos zur neuen Elektro-Kawa. Derzeit sind fünf Kurzvideos auf dem YouTube-Channel zu finden, die wir für euch zusammengeschnitten haben. Fünf weitere werden, voraussichtlich im Monatstakt, noch folgen.

Kawasaki
Artikel 0 Tests 0 Modelle 0 Videos 0 Marktangebote 0
Alles über Kawasaki
Mehr zum Thema EICMA
Harley-Davidson 338R
Motorräder
Aprilia Tuono V4 X Limited Edition
Naked Bike
Harley-Davidson Bronx Streetfighter Eicma 2019
Naked Bike
Kumpan RSi Elektroroller
Verkehr & Wirtschaft