Die Renaissance des Zweitakt-Motors
Zweitaktmotoren waren einst für ihre Einfachheit und Leistungsfähigkeit bekannt, doch Umweltauflagen und technische Herausforderungen verdrängten sie aus dem Markt. Nun erleben sie eine Renaissance, angetrieben durch innovative Technologien. Hersteller wie GM und Kawasaki setzen auf Direkteinspritzung und E-Turbo, um die Effizienz zu steigern und Emissionen zu senken. Diese Entwicklungen könnten den Zweitakter wieder konkurrenzfähig machen, denn das Grundprinzip ist weiterhin besser als das des Viertakters.
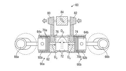
Ein zentraler Aspekt der neuen Zweitaktmotoren aus Direkteinspritzung und Aufladung. Beispiel GM: Der hybride aus E-Turbo und E-Kompressor ersetzt die Vorverdichtung im Kurbelgehäuse, während die Hülsenschieber-Technologie Spülverluste minimiert. Diese Ansätze basieren auf alten Konzepten, die durch moderne Elektronik und Materialien optimiert wurden. GM hat ein Patent für einen Motor angemeldet, der diese Technologien kombiniert, um sowohl Leistung als auch Umweltfreundlichkeit zu maximieren.
Kawasaki hingegen nutzt Ventile und einen Kompressor zum Abdichten des Brennraums und Aufladen der Ansaugluft. Beiden gemein: die Direkteinspritzung.
Direkteinspritzung: Ein Gamechanger für den Zweitakter
Die Direkteinspritzung ist ein weiterer Schlüssel zur Wiederbelebung des Zweitaktmotors. Sie ermöglicht eine präzise Steuerung des Kraftstoff-Luft-Gemischs, was nicht nur die Effizienz steigert, sondern die Emissionen reduziert, da das Benzin erst in den Brennraum gelangt, wenn das Abgas ausgestoßen und die Spülverluste ausgeschlossen sind.
Herausforderungen und Perspektiven
Trotz der vielversprechenden Technologien stehen die neuen Zweitaktmotoren vor Herausforderungen. Die Schmierung der Hülsenschieber und die Langlebigkeit der Komponenten sind ungelöste Probleme. Zudem bleibt abzuwarten, ob die neuen Konzepte wirtschaftlich und massentauglich sind. Dennoch bieten sie spannende Perspektiven, insbesondere als Range Extender in Hybridfahrzeugen oder in spezialisierten Märkten wie dem Offroad-Segment.
Vergleich mit Viertaktmotoren
Im Vergleich zu Viertaktmotoren bieten die neuen Zweitaktkonzepte einige Vorteile. Primär die höhere Leistungsdichte, da pro Umdrehung eine Zündung erfolgt und damit doppelt so oft Drehmoment erzeugt, als der Viertakter. Allerdings sind die neuen Konzepte komplexer als bisher. Die Frage, ob sie sich langfristig durchsetzen können, hängt von weiteren technologischen Fortschritten und der Akzeptanz durch die Verbraucher ab.












